Етапи та особливості наповнення психічних функцій. Спотворення ТИМ психіки
У умовно повної моделі ТИМ психіки періоди (етапи) вікового розвитку психіки людини виглядають так, як показано на малюнку:

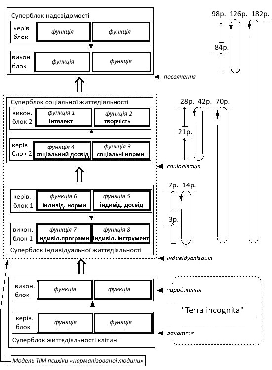
Мал. Вікові етапи розвитку ТИМ психіки (орієнтовні межі).
Процеси вікового розвитку психіки можуть бути представлені наступним чином:
- розвиток відбувається за віковими етапами кратним приблизно семи рокам послідовним наповненням реальної, життєвої інформацією психічних функцій блоків, починаючи з суперблоку Cital (рівень життєдіяльності клітин) та закінчуючи суперблоком Supermental (рівень надсвідомості) умовно повної моделі ТІМ психіки;
- у процесі наповнення інформацією чергового блоку, звичайно, взаємодіють зі світом і наповнюються також інші блоки, але домінанта процесів взаємодії психіки зі світом ніби переноситься в новий блок;
- порушення інформаційної взаємодії психічних функцій з навколишнім світом на тому чи іншому етапі розвитку психіки, ускладнюють або взагалі блокують наповнення функцій інформацією відповідних аспектів, деформують взаємодію психічних функцій і блоків у моделі ТІМ психіки, що неминуче веде в подальшому до характерних спотворень ТІМ психіки, що ускладнюють функціонування психіки і, отже, життя людини.
Складність дослідження психічних процесів, особливо на рівнях, що відповідають суперблокам Cital і Supermental, звичайно, сильно ускладнює моделювання, проте наявні дані дозволяють зробити деякі припущення про структуру і періодизацію функціонування психічних функцій і блоків умовно повної моделі ТІМ психіки.
Суперблок Cital
Системний підхід і, зокрема, теорія управління дають підстави припустити, а експериментальні дані підтвердити, що розвиток психіки починається з наповнення інформацією керуючого блоку структури, що розвивається, і лише потім блоку виконавчого. Тому наповнення суперблоку Cital, судячи з усього, відбувається саме в такій послідовності. Цілком можливо, що порушення процесів наповнення психічних функцій суперблоку Cital, що призводять до спотворення ТІМ психіки на цьому рівні психіки, є причиною багатьох захворювань, у тому числі, т. зв. «вроджених».
Блок Ід
Формування індивідуальності людини починається орієнтовно з 1-1,5 років. Дослідження раннього дитинства [1] показують, що в цьому віці триває наповнення суперблоку Cital і до віку 3–4 роки відбувається наповнення інформацією того рівня психіки, який відображається виконавчим блоком 1 (Ід) суперблоку Vital — дитина проявляє діяльнісну активність, «… відбувається перехід до власне предметних дій, інтелекту… Спілкування опосередковується предметними діями дитини і мало відокремлено від них» [1]. Найбільш характерна позиція дитини в цьому віці - "Можу" 1 . Головне завдання батьків та вихователів у цей період — забезпечити дитині умови життя та діяльності, що відповідають ідеології блоку Ід, тобто можливість поповнення робочих програм (функція 7) та їх реалізації (функція 8), причому й те, й інше — в аспектній інформаційній структурі ТІМ психіки конкретної дитини. Практично це означає створення для дитини відповідної його ТІМ психіки навколишнього оточення, звідки в процесі функціонування ТІМ психіки і, зокрема, блоку Ід було б "черпати" реальну інформацію для наповнення психічних функцій. А наповнити функції блоку реальною життєвою інформацією дуже важливо, тому що дефекти наповнення блоку Ід у цьому віці відіб'ються на всьому наступному житті людини характерним спотворенням ТІМ психіки — більшою чи меншою нежиттєздатністю, невмінням організувати своє повсякденне життя.
Блок Суперід
Незалежно від того, чи вдалося дитині в немовлячому періоді наповнити блок Ід, приблизно в 3–4 роки відбувається перехід до наповнення керуючого блоку 1 (Суперід). Зрозуміло, при цьому продовжується наповнення блоку Ід. Оскільки Суперід — це блок прийняття рішень, і його призначення — активізація психіки, включення в навколишній світ, то відповідним чином змінюється і поведінка дитини. Для того, щоб наповнити психічні функції індивідуальним досвідом («моє — не моє»), його треба набути, а індивідуальні норми («вмію — не вмію») — випробувати, домогтися оцінки оточуючих (соціуму) і переконатися, що дійсно вмію. Дитина стає «примхливою» — характерна для віку 3–7 років позиція дитини у взаємодії з навколишнім світом — «хочу»... Це зазвичай сприймається батьками та оточуючими як примхи. А насправді приблизно до 7 років дитина все «приміряє» до себе: відповідним інформаційній аспектній структурі наповнює психічні функції своєї моделі, невідповідне — відкидає. Часто це приймає форму явного або прихованого наслідування — у дитини з'являється і посилюється прагнення бути схожим у поведінці, уміннях тощо на старших (а іноді і на однолітків). Особливістю такого наслідування є обов'язковість сторонньої оцінки (референтна функція 6), відсутність якої несвідомо турбує дитину, а часто і формулюється у вигляді відповідних вербальних вимог. У цьому віці «...відбувається становлення дитини як умільця, тому слід заохочувати всі її спроби проявити себе. Чи займається вона ліпленням, чи підмітає підлогу, чи намагається самостійно готувати — все добре. Необхідно хвалити дитину навіть тоді, коли у неї не все вийшло: „У тебе сьогодні не вийшло — наступного разу постараєшся і все буде гаразд“ 2. Завдання батьків і вихователів у цей період — витримати «капризи», по можливості, не застосовуючи заборонної та силової політики, не забороняти дитині пошуки і відбір того, що є для неї бажаним, активізує і включає у взаємодію з навколишнім світом (сугестивна функція 5), забезпечити дитині умови для наповнення психічних функцій відповідно до аспектів, які вони обробляють, не забуваючи при цьому оцінювати (по можливості, справедливо!) вміння дитини (індивідуальні норми і досвід — референтна функція 6).
Не вміючи зрозуміти особливості функціонування психіки на цьому етапі розвитку, педагоги, батьки та вихователі в переважній більшості переконані, що «капризи» треба припиняти... І припиняють, і забороняють, і нав'язують підлітку «правильні бажання», переоцінюючи або недооцінюючи його вміння, завдаючи шкоди інформаційному наповненню найважливішого блоку в структурі моделі. Так формується найнебезпечніше спотворення ТІМ психіки — утруднене, нерішуче включення у взаємодію з навколишнім світом, відчуття незатребуваності, непотрібності (функція 5), що часто супроводжується невпевненістю у власних силах і вміннях, заниженою самооцінкою (функція 6). Якщо ж батьки, виховуючи, як їм здається, вундеркінда, переоцінюють його вміння на цьому етапі, в подальшому у нього розвивається гіпертрофована впевненість у своїх вміннях, завищена самооцінка, ігнорування думок оточуючих тощо. Різноманітність аспектної структури цього блоку у різних ТІМ психіки в поєднанні з відмінностями в аспектній структурі навколишнього світу, природно, обумовлює і різноманітність індивідуальних проблем включення людини в світ.
«Стажування» суперблоку Vital
З 7–8 років і приблизно до 13–14 років (близько 7 років) у психіці відбувається процес, який поки що не знайшов відображення у вікових психологічних класифікаціях. Ми назвали його «стажуванням» суперблоку Vital, маючи на увазі певне напрацювання в цей період інформаційного наповнення психічних функцій і, зокрема, набуття індивідуального досвіду. У цей період дитина живе інтенсивним індивідуальним життям, психічно «перебуваючи», в основному, в межах суперблоку Vital, активно використовуючи і блок Суперід, і блок Ід. При цьому, суперблок Mental, звичайно, теж використовується, але як би примусово, за обставинами. Досвід роботи з дітьми та підлітками цього вікового періоду виявляє, на перший погляд, незвичайну ситуацію — активно спілкуючись з однолітками (але не дорослими!), піддаючись інтенсивному колективістському «пресингу» в школі та таборах відпочинку, людина в «вітальний» період розвитку психіки залишається індивідуалістом в тому сенсі, що практично всю взаємодію з навколишнім світом вона несвідомо зводить до своїх потреб і бажань. Навіть оточуючих людей дитина і підліток цього періоду часто сприймають як якісь «речі для себе»... [2]
Блок Суперего
Приблизно в 11-14 років у розвитку психіки настає відома «криза підліткового віку» - розвиток психіки переходить від суперблоку індивідуальної життєдіяльності Vital до суперблоку соціальної життєдіяльності Mental. Підліток, який «тільки вчора», сам того не усвідомлюючи, жив практично виключно своїми інтересами, «раптом» відкриває соціум... Рівень психіки, що відображається керуючим блоком 2 (Суперего), умовно називають «треба» — підліток до свого здивування виявляє, що крім того, що йому «хочеться» (Суперід) і «можеться» (Ід), існує щось таке, що, можливо, йому і не хочеться, але чим треба займатися, з чимось і з кимось треба рахуватися, треба приймати рішення не тільки з приводу своїх бажань і небажань, але з приводу деяких потреб соціуму тощо.
У взаємодії з навколишнім світом починають домінувати соціальна нормативна інформація, активно фіксується особистий досвід соціальної взаємодії (функції 3 і 4). У період з 11-14 років до 19-21 року провідною діяльністю підлітка і молодої людини має бути спілкування в соціумі в широкому сенсі цього слова (з урахуванням аспектної структури блоку Суперего моделі ТІМ психіки), за допомогою якого у нього розвиваються погляди на життя, на своє становище в суспільстві, здійснюється професійне та особистісне самовизначення тощо. Однак самі по собі процеси соціального функціонування психіки відбуватися не можуть — з системної точки зору для нормального функціонування елемента системи необхідний постійний керуючий вплив на нього, що стимулює, в даному випадку, соціально значущу діяльність психіки3. Тому завдання соціуму (батьків, вихователів, школи) в цей віковий період — створити для молодої людини умови, що спонукають її до активної діяльності з освоєння і накопичення соціальних норм і набуття особистісного досвіду відповідно до функціональної та аспектної структури блоку Суперего її моделі ТІМ психіки. У таких умовах у підлітка поліпшується і приблизно до 18 років досягає норми здатність адекватної реакції у взаємодії з соціумом. Залишений сам на сам у цей віковий період, за відсутності нових завдань, коректної, толерантної взаємодії з якимось, умовно кажучи, «гуру», молода людина часто не в змозі наповнити інформацією важливий для соціальної життєдіяльності блок прийняття соціальних рішень (Суперего) моделі ТІМ психіки, наслідком чого в подальшому може виявитися характерне спотворення ТІМ психіки — нормативно-невпевнена поведінка, інфантильність, невміння (а тому і активне уникнення) приймати соціально значущі рішення. Це може призвести до ще більш важкого, «вітального» спотворення ТІМ психіки, коли формується синдром соціофобії (людина «боїться соціуму», у функціонуванні психіки ніби замикається в суперблоці Vital, уникаючи виходу на соціальний рівень — Mental).
Блок Его
До вікового періоду 21-28 років домінанта процесів інформаційного наповнення психічних функцій переміщається до виконавчого блоку 2 (Его) суперблоку Mental. Функціональну роль, особливості функціонування та наповнення психічних функцій блоку Его в цьому віковому періоді досить точно передає умовний вираз «знаю» . Фактично саме у віці від 21 до 28 років, після закінчення школи та вищого навчального закладу починають активно освоюватися нові знання. Дійсно, школа та виші дають знання, але засвоєння їх, напрацювання навичок та досвіду відбувається на практиці, у процесі реальної, прикладної діяльності — саме це забезпечує ефективне наповнення психічних функцій реальної людини.
Однією з головних особливостей психічних процесів у цьому періоді є розвиток інтелектуальної зрілості та дедалі активніші спроби самостійної творчості [1]. У моделі це якраз і відповідає рівню блоку Его (функції 1 і 2) — наповнення функцій відповідно до інформаційної аспектної структури конкретного ТІМ психіки в цей період пов'язане з поглибленням розуміння соціальних норм і установок, рольової і ситуаційної поведінки, розвитком уявлень про себе як про вже дорослу людину, що веде до більш-менш чіткого усвідомлення свого функціонального призначення.
Саме на цьому етапі найчастіше ставлять перешкоди, що ускладнюють розвиток Особистості. Цілі епохи тоталітаризму цілеспрямовано і ефективно формують «безликих особистостей» з заблокованим, забороненим до використання рівнем Его — нездатних до самостійної інтелектуальної творчості. Це й зрозуміло — тільки такими людьми можна безкарно керувати в своїх цілях, які часто суперечать природним цілям соціуму. Це призводить до спотворення типу «суперего», коли в умовах неможливості користуватися блоком Его людина змушена соціально значущі завдання вирішувати і «виконувати» блоком Суперего, а це — нормативно-невпевнений характер взаємодії з соціумом, пересічний світогляд, часто обтяжений недовірою до оточуючих, апробовані, часто застарілі або недоречні рішення, більш-менш глибока соціофобія тощо...
«Стажування» суперблоку Mental
моделює період розвитку психіки приблизно від 28 до 42 років. Загальновідомо, що саме в цей віковий період розвивається суспільне життя людини, активізується його включення до сфери суспільного виробництва та реалізація функціональної орієнтації, реалізуються сімейно-батьківські функції, посилюється прагнення до конструктивного вирішення різних життєвих проблем і т.п. У нормі, тобто коли соціальна життєдіяльність людини проходить в умовах інформаційного середовища, аспектна структура якого відповідає психічним функціям блоків Суперего і Его суперблоку Mental його ТІМ психіки, має місце нормальний, поступальний хід особистісного розвитку людини.
На жаль, в експертно-консультативній роботі з людьми цього вікового періоду виявляється досить поширене явище, яке можна назвати функціональною дезорієнтацією людини. Основи неправильно обраної життєвої орієнтації, що не відповідає структурі моделі ТІМ психіки, зазвичай закладаються починаючи з віку соціалізації «благими побажаннями» батьків, умовами суспільного життя, а часто — найближчим оточенням. Пов'язана з функціональною дезорієнтацією деформація наповнення психічних функцій суперблоку Mental призводить до прогресуючих труднощів соціальної реалізації людини.
«Стажування» моделі ТИМ психіки «нормалізованої» людини
моделює період онтогенезу психіки, орієнтовно, з 42 до 70 років. З погляду соціоніки, період «стажування» моделі ТІМ психіки людини в нормі повинен характеризуватись прогресуючою реалізацією здібностей людини у функціонально-аспектній галузі, заданої її ТІМ психіки . "У нормі" - це означає на здоровій тілесній основі за умови нормального розвитку психіки на попередніх етапах. Отже, вирішальним чинником нормального розвитку психіки у віці (42-70 років) є активна інтелектуальна діяльність психіки людини у взаємодії з навколишнім світом. А це можливо лише за умови достатнього інформаційного наповнення психічних функцій на всіх етапах розвитку психіки, починаючи з клітинного рівня. Чи потрібно підкреслювати, що наше реальне життя дуже далеке від такої «норми»...
У період «стажування» моделі ТІМ психіки, мабуть, відбувається якісна зміна інформаційного наповнення психічних функцій, пов'язана зі збільшенням частки узагальнених інформаційних масивів, побудованих за ієрархічним принципом («банків знань»), напрацьованих «про запас» моделей навколишнього світу тощо. Все це обумовлює перехід на наступний рівень психіки, що відображається в моделі суперблоком Supermental.
Суперблок Supermental та «стажування» умовно повної моделі ТИМ психіки
Моделює розвиток психіки, що охоплює віковий період приблизно 70-180 років. З системної точки зору на еволюцію життя на Землі можна припустити, що вихід розвитку психічних процесів на наступний за загальнолюдським (суперблок Mental ) рівень - планетарний, життєво важливий для функціонування системи "людство - планета Земля" в цілому і конкретної людини, зокрема, як рівень мудрості - "...глибокого розуму, що спирається на на життєвий досвід» (С. І. Ожегов). Цілком ймовірно, що психіка людини на цьому рівні включається складовою в ту легендарну планетарну структуру, яку В. І. Вернадський назвав ноосферою. У всякому разі, в системному обґрунтуванні висновків еволюційної теорії життя на планеті Земля суперблок Supermental моделі ТІМ психіки видається необхідною ланкою.
Функціонально-аспектна структура та особливості функціонування суперблоку Supermental моделі ТІМ психіки ще підлягають дослідженню та верифікації. Наявні відомості із вікової психології, результати досліджень еволюціоністів, геронтологів та ін., а також деякі дані східних навчань дають певні підстави для гіпотези про структуру вікового періоду, що відповідає суперблоку Supermental . Так, чотирнадцятирічні періоди наповнення інформацією блоку виконання (до віку 84 роки) та блоку управління (до віку 98 років) завершуються двадцятивосьмирічним «стажуванням» (до віку 126 років) всього суперблоку Supermental . Потім, мабуть, має місце завершальний період онтогенезу психіки — стажування повної моделі ТІМ (до віку приблизно 182 роки).
- Немов Р. С. Психология. Учеб. Для студентов высш. пед. Учеб. Заведений. В 3 кн. Кн.2. Психология образования. — М.: Просвещение: ВЛАДОС, 1995. — 496 с.
- Гиппенрейтер Ю. Б. Введение в общую психологию. Курс лекций. — М.: Изд-во Моск. ун-та, 1988. — 320 с.
- Ермак В. Д. Системы. Системные принципы. Системный подход // Социон. — 1997. — № 2, 1998. — № 1.
1 Для рівнів розвитку психіки (блоків моделі ТИМ психіки) В. В. Гуленко запровадив умовні вислови, характерні для того чи іншого періоду розвитку психіки: Ід – «можу», Суперід – «хочу», Суперего – «треба», Его – «знаю».
2 Л. Попова , професор Київської медичної академії післядипломної освіти, тижневик «Ваше здоров'я», 21 березня 2002 р.
3 Без необхідності діяти на користь системи ( управління ), будь-який елемент системи неминуче «замикається у собі» як наслідок, деградує і енергетично, і інформаційно [3].